Immediate availability in stock:
- CU16 - OFHC Copper Gasket, 16.0mm (+/-. 1), 21.25mm (+/-. 1), 2mm Thick - 30pcs
- CU39 - OFHC Copper Gasket, ID = 39.2mm (+/-. 1), OD = 48.1mm (+/-. 1), thickness 2mm, - 50pcs
- CU63 - OFHC Copper Gasket, ID = 63.45mm (+/-. 1), OD = 82.4mm (+/-. 1), 2mm thick, - 50pcs
- CU100 - OFHC Copper Gasket, ID = 101.7mm (+/-. 1), OD = 120.5mm (+/-. 1), 2mm thick - 30pcs
- CU150 - OFHC Copper Gasket, ID = 152.5mm (+/-. 1), OD = 171.1mm (+/-. 1), 2mm thick, - 10pcs
CF flanges utilize an OFHC (Oxygen Free High Conductivity) copper gasket (also sold separately) for effective seal up to 1x10 Torr. Moreover, the copper gasket can sustain a temperature of up to 450°C, but reuse of copper gaskets is not recommended.
Cleaning and Packaging
All products with weld joints are 100% helium leak tested to assure leak free operation prior to use. In addition, to ensure the cleanliness of AdvanTorr products, all parts are ultrasonically cleaned to UHV standards using de-ionized water and packaged in contamination free, class 10,000 clean room conditions. Each bag is affixed with a barcode label identifying the component's part number, heat number and batch number for full traceability.
Technical Features
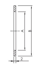
Part Number | Size | A | B |
|---|---|---|---|
CF-CS-133 | CF1.33"(DN16) | 16.20 | 21.25 |
CF-CS-212 | CF2.12"(DN25) | 25.65 | 32.77 |
CF-CS-275 | CF2.75"(DN35) | 36.80 | 48.10 |
CF-CS-275-1 | CF2.75"(DN40) | 39.00 | 48.10 |
CF-CS-338 | CF3.38"(DN50) | 51.05 | 61.60 |
CF-CS-450 | CF4.50"(DN63) | 63.60 | 82.35 |
CF-CS-462 | CF4.62"(DN80) | 76.45 | 91.39 |
CF-CS-600 | CF6.00"(DN100) | 101.80 | 120.45 |
CF-CS-675 | CF6.75"(DN130) | 127.25 | 141.40 |
CF-CS-800 | CF8.00"(DN160) | 152.60 | 171.25 |
CF-CS-1000 | CF10.00"(DN200) | 203.40 | 222.05 |
CF-CS-1200 | CF12.00"(DN250) | 254.20 | 272.85 |
CF-CS-1325 | CF13.25"(DN270) | 274.00 | 294.34 |
CF-CS-1400 | CF14.00"(DN300) | 300.00 | 313.00 |
CF-CS-1650 | CF16.50"(DN350) | 356.50 | 376.60 |
*Optional for 10 pcs in 1 pack
Part Number (metric thread) | Size | Thread | L (mm) | No. of Sets |
|---|---|---|---|---|
CF-HB-133M | CF1.33"(DN16) | M4xP0.70 | 20 | 25 |
CF-HB-212M | CF2.12"(DN25) | M6xP1.00 | 35 | 25 |
CF-HB-275M | CF2.75"(DN40) | M6xP1.00 | 35 | 25 |
CF-HB-338M | CF3.38"(DN50) | M8xP1.25 | 45 | 25 |
CF-HB-450M | CF4.50"(DN63) | M8xP1.25 | 45 | 25 |
CF-HB-600M | CF6.00"(DN100) | M8xP1.25 | 50 | 25 |
CF-HB-800M | CF8.00"(DN160) | M8xP1.25 | 60 | 25 |
CF-HB-1000M | CF10.0"(DN200) | M8xP1.25 | 60 | 25 |
Part Number (inch thread) | Size | Thread | L | No. of Sets |
|---|---|---|---|---|
CF-HB-133 | CF1.33"(DN16) | 8-32 UNC | 19.1 | 25 |
CF-HB-212 | CF2.12"(DN25) | 1/4"-28UNF | 31.8 | 25 |
CF-HB-275 | CF2.75"(DN40) | 1/4"-28UNF | 31.8 | 25 |
CF-HB-338 | CF3.38"(DN50) | 5/16"-24UNF | 44.5 | 25 |
CF-HB-450 | CF4.50"(DN63) | 5/16"-24UNF | 50.8 | 25 |
CF-HB-600 | CF6.00"(DN100) | 5/16"-24UNF | 57.2 | 25 |
CF-HB-800 | CF8.00"(DN160) | 5/16"-24UNF | 57.2 | 25 |
CF-HB-1000 | CF10.0"(DN200) | 5/16"-24UNF | 63.5 | 25 |
*Material: Stainless Steel
*Set: Bolts, Nuts & Washers
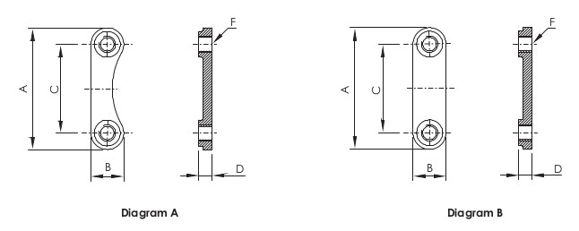
Part Number (metric thread) | SizeDiagram | A | B | C | D | F | |
|---|---|---|---|---|---|---|---|
CF-PN-133M | CF1.33"(DN16) | A | 20.30 | 7.62 | 13.46 | 3.20 | M4xP0.7 |
CF-PN-275M | CF2.75"(DN40) | A | 41.16 | 12.70 | 29.46 | 5.10 | M6xP1.0 |
CF-PN-338M | CF3.38"(DN50) | B | 44.45 | 12.70 | 27.69 | 5.30 | M8xP1.25 |
CF-PN-450M | CF4.50"(DN63) | B | 51.56 | 12.70 | 35.30 | 5.30 | M8xP1.25 |
CF-PN-462M | CF4.62"(DN80) | B | 45.80 | 12.70 | 31.60 | 5.30 | M8xP1.25 |
CF-PN-600M | CF6.00"(DN100) | B | 41.65 | 12.70 | 25.40 | 5.30 | M8xP1.25 |
CF-PN-800M | CF8.00"(DN160) | B | 44.45 | 12.70 | 28.45 | 5.30 | M8xP1.25 |
Part Number (inch thread) | Size | Diagram | A | B | C | D | F |
|---|---|---|---|---|---|---|---|
CF-PN-133 | CF1.33"(DN16) | A | 20.30 | 7.62 | 13.46 | 3.20 | 8-32 |
CF-PN-275 | CF2.75"(DN40) | A | 42.16 | 12.70 | 29.46 | 5.10 | 1/4-28 |
CF-PN-338 | CF3.38"(DN50) | B | 44.45 | 12.70 | 27.69 | 5.30 | 5/16-24 |
CF-PN-450 | CF4.50"(DN63) | B | 51.56 | 12.70 | 35.30 | 5.30 | 5/16-24 |
CF-PN-462 | CF4.62"(DN80) | B | 45.80 | 12.70 | 31.60 | 5.30 | 5/16-24 |
CF-PN-600 | CF6.00"(DN100) | B | 41.65 | 12.70 | 25.40 | 5.30 | 5/16-24 |
CF-PN-800 | CF8.00"(DN160) | B | 44.45 | 12.70 | 28.45 | 5.30 | 5/16-24 |
CF-PN-1000 | CF10.00"(DN200) | B | 44.45 | 12.70 | 30.23 | 5.30 | 5/16-24 |
*Material: Stainless Steel
Part Number | Size | A | B |
|---|---|---|---|
CF-PC-133 | CF1.33"(DN16) | 36.20 | 34.20 |
CF-PC-212 | CF2.12"(DN25) | 56.40 | 54.00 |
CF-PC-275 | CF2.75"(DN40) | 72.10 | 70.10 |
CF-PC-338 | CF3.38"(DN50) | 88.50 | 85.90 |
CF-PC-450 | CF4.50"(DN63) | 118.30 | 113.50 |
CF-PC-462 | CF4.62"(DN80) | 120.50 | 117.60 |
CF-PC-600 | CF6.00"(DN100) | 156.40 | 151.60 |
CF-PC-675 | CF6.75"(DN130) | 173.80 | 171.60 |
CF-PC-800 | CF8.00"(DN160) | 206.00 | 202.00 |
CF-PC-1000 | CF10.00"(DN200) | 258.00 | 254.00 |
CF-PC-1200 | CF12.00"(DN250) | 309.00 | 304.60 |
CF-PC-1325 | CF13.25"(DN270) | 341.10 | 336.70 |
CF-PC-1400 | CF14.00"(DN300) | 360.10 | 355.70 |



